ПН1 и ПС1

Позиционеры

  • Плавное управление электроприводом воздушной заслонки при помощи сигнала 0-10 В
  • Навесной или скрытый вариант установки



Типоразмерный ряд

ПРИМЕНЕНИЕ


Управляет электроприводом, имеющими входной сигнал 0-10 В., например, привод LF24SR фирмы Belimo. Позиционеры применяются в системах вентиляции и кондиционирования для пропорционального регулирования угла открытия воздушной заслонки или для дистанционного задания параметров работы устройств через выходной сигнал 0-10 В.

Описание работы


При подаче напряжения питания позиционер выдает выходной сигнал 0-10 В. Величина сигнала задается поворотом ручки. В крайнем левом положении 0 В, в правом — 10 В.

  • Напряжение питания: 24 В ± 10%, постоянное или переменное
  • Выходной сигнал: 0-10 В
  • Габаритные размеры ПС1: 80х80х53, мм
  • Габаритные размеры ПН1: 80х80х67, мм
  • Рабочая температура: от 0 до 40 °С 
  • Класс защиты: IP20
  • Присоединение: через зажимы для гибких проводов сечением до 2,5 мм²
  • Усилие затяжки: 0,3 Н∗м




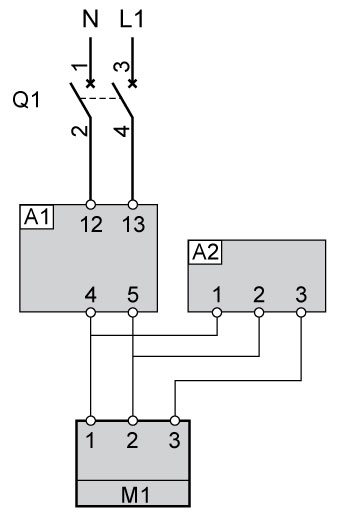
Q1 — автоматический выключатель iK60 2П 2А С;

А1 — трансформатор ТП20;

А2 — позиционер ПН1;

М1 — электропривод воздушной заслонки (LF24SR).

Пульты - ПН1 и ПС1

ПРИМЕНЕНИЕУправляет электроприводом, имеющими входной сигнал 0-10 В., например, привод LF24SR фирмы Belimo. Позиционеры применяются в системах вентиляции и кондиционирования для пропорционального регулирования угла открытия воздушной заслонки или для дистанционного задания параметров работы устройств через выходной сигнал 0-10 В.Описание работыПри подаче напряжения питания позиционер выдает выходной сигнал 0-10 В. Величина сигнала задается поворотом ручки. В крайнем левом положении 0 В, в правом — 10 В.

Пульты - ПН1 и ПС1
0.00

Поддержка

Каталог Системы вентиляции

Получить наиболее подробную
информацию о продукции Вы всегда
можете в нашем каталоге.

Скачать

Единый прайс-лист

В нашем прайс-листе вы найдете
самые актуальные цены на всю
предлагаемую нами продукцию.

Скачать

Сертификаты на продукцию

Вся продукция завода полностью
сертифицирована и прошла все
необходимые испытания.

Перейти

Монтаж вентиляции
Аэродинамические испытания
Электрофизические измерения

Вентиляторы :: Воздуховоды :: Клапаны

+375 (29) 187-67-00

+375 (232) 53-54-55

часы работы: 9:00—18:00